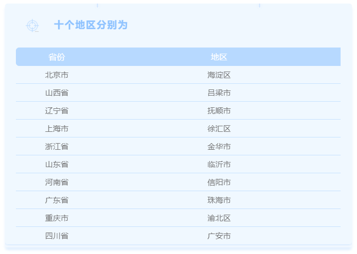
年终总结:第五批居家和社区养老服务改革试点验收
近日,民政部、财政部共同发布了《关于公布第五批居家和社区养老服务改革试点验收结果的通知》,全国共59个试点地区参加评审验收,26个试点地区得分90分以上,获得“优秀”等次。按照优中选优原则,民政部、财政部将对10个试点地区给予专项奖励。

北京市海淀区
通过强化设施供给、人才保障、社会参与、服务标准、科技支撑等方面内容,开展养老护理职业发展体系改革试点、鼓励社会化连锁化品牌化运营、建设养老服务大数据中心和智慧管理中心,促进养老服务信息数据融合;推进智慧养老设备用品的研发与应用;加强智慧养老院建设和“智慧养老社区”建设。
目前已初步形成了“周边、身边、床边”的养老服务格局,建成了区级养老服务指导中心1家、养老机构(街镇养老照料中心)63家、社区养老服务驿站97家,养老服务供给丰富多元,服务涵盖文化娱乐、康复护理、精神慰藉、紧急救援等多个方面,老年人精神、物质需求得到充分满足,幸福感、获得感明显提高。
上海市徐汇区
突出集成化,打造养老服务品牌;科技赋能,在多元化个性需求中做到精准匹配;政社合作,不断引入社会力量参与到徐汇养老产业中来。
通过强服务,重实效,积极推进“医养融合”;全力发展人工智能,探索智慧养老新范式”;“推进智慧健康养老,打造老年宜居社区”。
重庆市渝北区
聚焦居家社区养老服务改革发展中的短板和难点,突出需求导向,在基础建设、农村养老、医养结合、智慧养老等方面取得了行之有效的经验。
加快打造一流社区居家养老服务设施,探索“互助+流动”农村养老服务新模式,切实用好用活公办养老医疗资源,突破养老人才瓶颈,立足“一平台两中心”,激发智慧养老“乘数效应”,持续推进养老服务业健康发展。
目前,全区已有公办、民办养老机构42个,各类居家社区养老服务设施212个,初步形成了以居家为基础、社区为依托、机构为补充、医养相结合的多层次、多样化的养老服务体系,在设施建设、人才培养、信息化建设、农村养老等多个方面居全市领先水平。
浙江省金华市
率先出台《金华市区新建住宅小区配建居家养老服务用房建设、管理和移交暂行办法》,打造市县乡村四级养老设施布局,扩大社区居家养老服务供给,有效提升了养老服务的便捷性和可及度。同时,深化“统分结合”居家养老服务模式,打造党建引领的“红色绣花针”社区居家养老服务品牌,推广磐安县山区特色医养结合养老模式,有效提升老年人的居家养老生活质量。
截至目前,全市建成乡镇(街道)级示范型居家养老服务中心82家、村(社区)居家养老服务照料中心3006家、养老机构182家、医养结合服务机构43家,整合闲置公共资产用房20处,织密为居家老人提供便捷服务的设施网络。初步打造了生活照料舒心、健康养护省心、服务优质放心的新时代“三心养老,金华更好”养老服务品牌,增强了全市近108万60周岁以上老人的获得感、幸福感、安全感。
四川省广安市
创新建立了“11333”居家和社区养老运营服务体系,即:有一个养老服务指导机构;发挥一个国有企业支撑作用,引导社会力量作为市场参与主体;建立街道综合体、社区驿站、家庭适老化床位三层养老供给设施;健全市总部、县(市、区)分(子)公司、乡镇点位三级养老服务网络;实现老年人生命健康、生活便捷、身心愉悦三个目标,改革试点工作得到了民政部、财政部专家的高度肯定,取得了较好的效果。
山东省临沂市
培育居家养老服务 社会力量参与“家庭养老”, 建立兜底服务制度 特困人员进行“动态管理”,推广“互联网+养老” 智慧养老“互联互通”, 深化医养融合发展 建立就诊“绿色通道”, 推动标准化建设 第三方机构“质量监管”。
目前,全市共有各类养老服务设施958处,其中养老服务机构120处,含街道综合养老服务中心22处,社区老年人日间照料中心125处,农村幸福院713处,养老服务信息平台12处,以居家为基础、社区为依托、机构为补充、医养相结合的多层次、智能化养老服务体系基本建立。
悦享数字以“数据驱动健康 智慧赋能养老”为愿景,致力于推动养老行业数字化转型。通过多年行业深耕,与多家知名养老服务企业达成长期合作,独立研发的养老运营平台、居家养老服务平台、物联网平台、大数据平台、移动APP等产品已经助力全国数十家养老机构创新服务运营,提升管理效率。
居家养老服务平台能够通过在线收集老人需求,进行订单统一分派、执行与监督,实现服务资源共享,老人服务需求精准匹配。

在老人居家安全场景中,基于互联网、物联网、大数据等技术和平台,运用可穿戴设备等移动采集终端,可对老年健康状态的动态监测及安全事件的及时反馈处理,保障居家老人的安全与健康。





